
咨詢熱線0755-26993877
最常見的應用之一是從稱重傳感器或任何全橋式傳感器(例如帶有A/D板的應變計電橋)獲取數據。也是最不了解的,很多用戶會犯簡單的接線錯誤,造成噪音過大,極端情況下還會損壞傳感器和儀表。 安裝稱重傳感器時首...

隨著全球化促進更多競爭,制造商正在尋找通過改變許多核心流程來保持領先地位的方法。這包括從液壓系統轉換為電氣系統。液壓缸和電動執行器都為許多直線運動應用提供了許多好處。液壓系統以可承受的成本提供高力,而...

壓縮空氣用于為許多工業應用提供動力,并被認為是許多公司生產程序的重要組成部分。這就是為什么產生純凈、清潔的空氣至關重要的原因。由于大多數設施旨在以最佳性能運行,所有系統,包括壓縮空氣系統,都必須高效運...

一般來說,音頻變壓器分為三種:隔離變壓器、輸入變壓器和輸出變壓器。 1、隔離變壓器 在電子管音頻功放電路中,有時由于功放電路的特殊要求而需要將前級和電路電平關掉,使前級和后級之間沒有電壓-電流直接連接...

在最基本的層面上,變壓器由位于磁芯周圍的初級和次級繞組組成。音頻變壓器用于以高精度和最小失真將聲音信號從初級繞組傳輸到次級繞組。變壓器是許多音頻應用中最有效的解決方案,因為它們允許電能在沒有直接連接的...

由于核工業的發展,鈾已排放到環境中,由于其放射性和化學毒性而導致健康風險。2011年福島災難后,各國都加強了核電站安全檢查。因此,開發高效且易于使用的鈾檢測技術至關重要。 未受污染的環境水中的鈾濃度范...

隨著國內、制造業、機器人、醫療等行業對運動傳感器的需求越來越大,運動傳感器的使用也越來越多。紅外傳感器是最受歡迎的運動檢測器,可用于各種設備。傳感器收集有關移動的信息,當有東西移動時,設備可以用這些信...

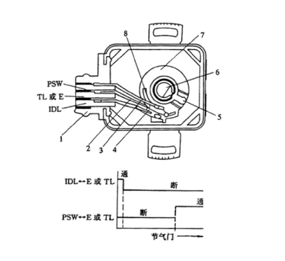
節氣門位置傳感器一方面用于檢測節氣門開度的角度作為發動機負荷的參考信號,另一方面反映節氣門開度變化的速度,從而反映駕駛員的駕駛意圖。對于自動變速器的電子控制系統,節氣門位置傳感器主要用于檢測節氣門開度...

節氣門位置傳感器的目的是確保將正確的空氣和燃料混合物輸送到您的汽車發動機,以使您的車輛發揮最佳性能。它是汽車燃油管理系統的重要組成部分,位于蝶形主軸/軸上。 當此傳感器無法正常工作時,您會遇到明顯的癥...

現代燃料噴射內燃機依靠燃料和氧氣的有效混合物來運行。這是燃油噴射系統的任務-它在頂部有一個節氣門體,包括一些輔助這個過程的組件。節氣門體中最重要的兩個部件是節氣門體位置傳感器(TPS)和節氣門體溫度傳...
