什么是剎車氣缸?剎車氣缸的工作原理和結構特點是現有主要用于木工機械設備上的剎車氣缸,靠氣缸的彈簧力使軸頭端的剎車墊牢固地鎖定移動的機械,使其不能移動。它包括氣缸筒體,置于氣缸筒體兩端的連接在一起的前壓蓋和后壓蓋,置于氣缸筒體內的帶有一端通過前壓蓋伸到氣缸筒體外的活塞桿及活塞,分別置于活塞與氣缸筒體之間,氣缸筒體與前壓蓋之間,活塞桿與前壓蓋之間的設有O型密封圈,這種結構的剎車氣缸結構繁瑣,空間結構大,使用不方便,其由于氣缸各部件的連接活動處多,氣密性不好,使用壽命短。

剎車氣缸的組成結構:
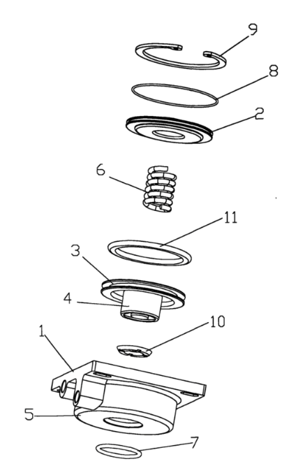
1.一種剎車氣缸,包括缸體(1)和后蓋(2),在缸體(1)內設有氣缸芯,其特征在于:所述的氣缸芯包含為一體化結構的活塞(3)和活塞桿(4),所述的缸體(1)是含前蓋(5)且壓鑄成型的一體化結構;所述的氣缸芯的活塞桿是中空結構,內設彈簧(6)
2.根據權利要求1所述的剎車氣缸,其特征在于:所述的缸體(1)前蓋端設有為活塞桿密封和導向的0形桿部圈(7),在活塞(3)上設有密封活塞的活塞圈(11)。
3.根據權利要求1所述的剎車氣缸,其特征在于:所述的后蓋(2)上設有0形圈(8和卡簧(9)
4.根據權利要求1-3中任意一項所述的剎車氣缸,其特征在于:所述的氣缸芯的活塞桿(4)端頭設有由丁腈材料做成的剎車墊(10)。

